Wysoka jakość
Produkty
Wyłączny przedstawiciel CIRCOR INSTRUMENTATION TECHNOLOGIES Inc. w
Polsce.
Nasze rozwiązania sprawdzają się w każdych warunkach ciśnienia,
temperatury i rodzaju mediów.
seria 2300
Zastosowanie:
- zapobiega przepływowi wstecznemu chroniąc cenne elementy instalacji
- do instalacji wysokociśnieniowych
Parametry techniczne:
- ciśnienie pracy:
- aluminium od 0 do 5000 PSIG (345bar) – w temp. poniżej 250°F (121°C)
- mosiądz od 0 do 5000 PSIG (345bar)
- stal nierdzewna 303 od 0 do 7.500 PSIG (517bar)
- stal nierdzewna 17-4 PH od 0 do 10.000 PSIG (690bar)
- ciśnienie zadziałania:
- standardowe: 7 PSIG
- inne opcje: od 0,5 do 30 PSIG
- Temperatura pracy: od -73 do +204°C (w zależności od uszczelnienia i korpusu)
- przyłącza:
- rodzaje: gwint NPT, BSP oraz inne na zapytanie
- od 1/8″ do 1″ w zależności od rodzaju przyłącza i typu zastosowania
- materiały:
- aluminium, mosiądz, stal nierdzewna
- Buna-N, guma etylenowo-propylenowa, Neopren, Teflon, Viton
Właściwości:
- jednoczęściowa budowa
- sprężyste o-ringi zapewniają lepszą odporność na działanie czynników zanieczyszczających
- całkowita szczelność w zakresie dopuszczalnych ciśnień
- ciche działanie
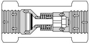
Działanie zaworu:
- OTWARTY
Medium swobodnie przepływa przez zawór ponad grzybkiem. - ZAMYKA SIĘ
Podczas gdy ciśnienie w instalacji zaczyna powoli spadać o-ring automatycznie ustawia się w pozycji kontaktowej ze stożkowym siedzeniem zapewniając całkowitą szczelność zaworu. - ZAMKNIĘTY
O-ring jedynie uszczelnia zawór, cały nacisk ciśnienia zwrotnego zatrzymany jest na siedzeniu metal-do-metalu. Im wyższe ciśnienie, tym lepsze doszczelnienie zaworu.

Zdjęcie nr 1. Zawór zwrotny – seria 2300 otwarty

Zdjęcie nr 2. Zawór zwrotny – seria 2300 zamyka się

Zdjęcie nr 3. Zawór zwrotny – seria 2300 zamknięty