Wysoka jakość
Produkty
Wyłączny przedstawiciel CIRCOR INSTRUMENTATION TECHNOLOGIES Inc. w
Polsce.
Nasze rozwiązania sprawdzają się w każdych warunkach ciśnienia,
temperatury i rodzaju mediów.
seria 5300
Zastosowanie:
- instalacje wysokociśnieniowe
Parametry techniczne:
ciśnienie pracy:
- od 400 do 10.500 PSIG (od 2,8 do 72,4 MPa)
ciśnienie zadziałania:
- ustawiane fabrycznie, wartość deklarowana przez klienta w zakresie 400 – 10.500 PSIG
temperatura pracy:
- od -54 do +177°C w zależności od o-ringu i materiału korpusu
przyłącza:
- rodzaje: na zapytanie
- wielkości od 1/4″ do 1/2″, od 1/4″ do 1″
materiały:
- stal nierdzewna, mosiądz
- Viton, Neopren, Buna-N
Właściwości:
- na życzenie klienta możliwe fabryczne, precyzyjne nastawienie ciśnienia zadziałania
- całkowita szczelność zarówno pod działaniem dopuszczalnych wartości ciśnienia pracy, jak również po doszczelnieniu zaworu
- zgodny z PED i CE
- wersja do mediów ciekłych (grzybek CRES 440C) oraz gazowych -max. 2000 PSIG w przypadku zastosowania z medium ciekłym (do 3.024 PSIG grzybek PCTFE, powyżej 3.024 PSIG grzybek poliamidowy)
Działanie zaworu:
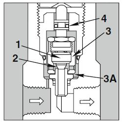
- ZAMKNIĘTY
W pozycji „zamknięty” grzybek (1) jest dociśnięty do prześwitu zaworu (2) przez sprężynę i uszczelnienie. Nacisk reguluje ogranicznik grzybka (3), którego dolna krawędź znajduje się na ramieniu średnicy prześwitu zaworu w punkcie 3A. Gdy ciśnienie w instalacji rośnie do ustalonego poziomu ciśnienia zadziałania, zanim je osiągnie, ogranicznik grzybka (3) przesuwa się w górę pokonując tarcie o-ringu (4) – gwarantuje to wyjątkową dokładność zadziałania zaworu w momencie, gdy finalnie ciśnienie osiągnie ustalony poziom zadziałania.

Zdjęcie nr 1. Zawór nadmiarowy – seria 5300 zamknięty
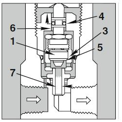
- DZIAŁA
Gdy ciśnienie w instalacji urośnie poza ustalony poziom ciśnienia zadziałania, siły w obszarze 6 rosną, przesuwając sprężynę. Umożliwiają w ten sposób dalszy ruch ku górze ogranicznika grzybka, co w efekcie powoduje podniesienie samego grzybka (1) i odsunięcie go od o-ringu, do którego był dociśnięty. Prześwit zaworu (7) otwiera się i umożliwia ujście medium.

Zdjęcie nr 2. Zawór nadmiarowy – seria 5300 działa
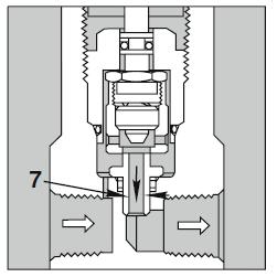
- OTWARTY
W miarę, gdy ciśnienie w instalacji obniża się, ciśnienie zwrotne w punkcie 7 redukuje siłę działającą na grzybek, co umożliwia ogranicznikowi dalsze otwarcie zaworu – zwiększa się przepływ medium z minimalnym jedynie wzrostem ciśnienia. Gdy zawór serii 5300 użyty jest jako zawór główny nadmiarowy, ciśnienie otwiera grzybek całkowicie umożliwiając pełny przepływ medium z minimalnym spadkiem ciśnienia.

Zdjęcie nr 3. Zawór nadmiarowy – seria 5300 otwarty